「思維解密」:我們的「梅比烏斯之環」
時間,不見得是線性的……
大家小時候應該都做過紙環,也許是為了遊戲,或是美術課時的裝飾。
做法很簡單,把一張紙剪得細細長長,把兩端用膠水黏合在一起就好。
但若我們稍微動一些簡單的手腳,先把紙帶的其中一端旋轉個半圈,再黏上另一端,此時紙環就不是單純的圓,而成了有些扭曲的 8 字形。
然後,我們拿一支筆,在環帶上的任何一個點開始,順著紙環本身的方向,向前持續地畫出一條直線。我們會發現,那條線會同時經過紙環的正反兩面,並且回到了原點。
就好像是,紙環變得沒有表裡之分,也沒有盡頭可言。
如果我們再發揮一下想像力,把紙環想像成是一個跑道,而手上的筆則是在上面奔跑的人──無論他怎麼奔跑,也到達不了終點,甚至也找不到起點。
此時我們會發現,這也是「無限」的其中一種表現形式。
無限,不一定非得像是海邊的水平線、或夜晚的星空那般,放眼望去無際無際,龐大到常人無法觸及。無限,也能以一隻手就可以掌握的大小和規模,呈現在我們眼前。
思考至此,眼前的紙環已不再只是小朋友等級的手工藝,而是知名的「梅比烏斯之環」。
「梅比烏斯之環」(Möbius strip),是在 1858 年由兩位德國數學家所發現的。
一位是約翰.班尼迪克特.利斯廷(Johann Benedict Listing),另一位則是這個概念的命名者:奧古斯特.費迪南德.梅比烏斯(August Ferdinand Möbius)。
有趣的是,這兩位並非同事,他們也沒有共同合作,只是各自在不同的地方獨立進行研究,而正好在同一個時間點上,發現到了同樣的概念。
歷史上偶爾也會有這種巧合。
梅比烏斯之環這個數學概念問世之後,成了另一個學科領域:拓撲學(Topology)的基礎。
拓撲學是一門抽象又隱晦的知識,它研究的主題是:當物體或空間在不被撕裂或破壞的前提之下,若被連續變形、拉伸、或彎曲的話,那麼在這整個過程之中還會有哪些基本特質可以保持不變。
簡單來說,跟其他的學問領域一樣,拓撲學研究的是「在變化之中尋求不變」。
雖然梅比烏斯之環做為一個數學概念在 19 世紀才出現,但若回溯一下人類的歷史,我們會發現早在公元三世紀,在藝術作品裡就有它的蹤跡。
像是以下這張圖,這幅位於現今義大利的地板鑲嵌畫,上面繪有羅馬神話中的神祇,衪的背後正是一個裝飾著黃道十二宮符號的梅比烏斯之環。
在人類還未以數學的角度來認識它之前,梅比烏斯之環就已經存在於人類的美學概念之中。
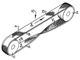
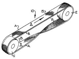
在近代機械工業裡,人們也會運用梅比烏斯之環的特性來設計工件。像是以下這張圖所示的傳送帶,它之所以做成像梅比烏斯之環一樣的形狀,就是為了讓帶子的內外兩面都能充分被利用到。相對於傳統的設計只會讓帶子其中一側不斷被磨損,這樣的設計可以有效延長輸送帶的使用壽命。
然而,就我現在的人生體悟,每當提到梅比烏斯之環,我就會聯想到「英雄旅程」(Hero's journey)這個概念。
「英雄旅程」源自於美國神話學家:約瑟夫.坎伯(Joseph Campbell)的著作《千面英雄》(The Hero with a Thousand Faces)。作者研究古今中外各種神話傳說,把所有的情節發展整理成出一套共同的架構,集結在這本著作之中。
而這個架構與模式,不僅影響了現今所有影視作品的劇本創作,甚至也用在品牌、行銷領域,來吸引消費者的認同和感動。
那正是因為,英雄旅程這個架構本身,與人類的生命過程實在太過相似了。
(關於「英雄旅程」這個概念的延伸閱讀,可以參考我另外三部作品:
至於說為何我會在英雄旅程裡看到梅比斯之環呢?那是因為就某個層面上,人生的時間軸不是直線,而是「無限循環」的。
大部分人都會把時間理解成一支射出去的箭,從過去到現在、再一直到未來,只會向前筆直飛去、有去無回。
就物理上而言的確是如此。但是如果我們以心理和精神的角度,並且以整體人生的尺度來看待時間這麼回事的話,會發現它更接近梅比烏斯之環那樣,並非單純的線性結構。
怎麼說呢?這要先從「英雄旅程」本身開始說起。
原版的英雄旅程有 17 個階段,而比較通用的版本是被簡化後的 12 個階段,然後若要再簡略地再分成三階段,大致可以分為「啟蒙」、「冒險」、和「歸來」。
這三個階段,正好也對應著戲劇作品的「三幕劇」經典結構。
第一幕「開端」,代表著故事起點,情節的觸發,對應著英雄旅程中的主角接受「啟蒙」,動身進入冒險世界。
第二幕「中段」,故事持續發展,進入衝突與高潮,正好是主角在冒險世界中的掙扎與奮鬥過程。
第三幕「結尾」,事件得以解決,故事落幕,身心得到蛻變的主角從冒險世界歷劫歸來。
這三個階段,正好也可以對應到人生的「過去」、「現在」,還有「未來」。
「現在」的我們,是「過去」的我們所累積而形塑出來的,而同時我們心中永遠對於「未來」懷有一份期待和渴望,並且向其邁進,亦步亦趨。
也因此,「未來的我們」,在不知不覺中也影響著我們當下的決定與思維,可以說是也形塑著「現在的我們」。
每當我們歷經了苦難和成長──這就是英雄旅程中最主要的過程,我們會發現到,在這趟之中所帶給我們的一切,實際上也解開了許多過去的遺憾、悔恨、或是糾結。
這也就等於是,「現在的我們」讓「過去的我們」更加完善了。
而與「過去的我們」和解,又讓「現在的我們」更會有動力朝向「未來的我們」前進。
英雄旅程,正是一段述說著人們如何從過去的契機,轉身進入當下的冒險,並朝向未來的成長而持續演進的故事。每當閱讀著具有這樣架構的故事之時,人們總是會在其中找出自己生命的寫照。
也因此,相信對於具有一定閱歷的人而言,「過去」、「現在」、與「未來」絕對並不只是一個線性的時間序,更是一個彼此影響、交互循環的結構──像是梅比斯之環那般。
過去的我、現在的我、未來的我,看似處於不同的時間線上,卻彼此交織,彼此成就。就好像是,三者原本就是一體,並無所謂誰先誰後的差別。
在這層意義下,時間是個相當模糊的概念,真的就像是一條不分表裡、永無止盡、無限循環的「梅比烏斯之環」。




